36+ Human Nose Drawing
 		 		 
 		
 	File J C Carpue Male Figure Without A Nose Wellcome L0005844 Jpg Wikimedia Commons 	
 
 				  	 	 		 		 
 		
 	Haukonger Maxa El A Rida Wiki Fandom 	
 		 		 
 		
 	Art Now And Then Nose Drawing 	
 		 		 
 		
 	Human Nose Drawing Illustrations Vectors 	
 		 		 
 		
 	36 Thousand Cartoons Body Organs Royalty Free Images Stock Photos Pictures Shutterstock 	
 		 		 
 		
 	Body Parts Challenge Day 29 Nose Http Ift Tt 2ahp8nm Desenho De Pessoas Arte Em Caderno De Esboco Desenho 	
 		 		 
 		
 	How To Draw A Nose Springerlink 	
 		 		 
 		
 	How To Draw A Human Nose Step By Step Drawnose Draweasynose Nosestepbystep Youtube 	
 		 		 
 		
 	How To Draw Person How To Draw Nose How To Draw Beginners Draw Easy Drawings Drawing Pictures Nose Drawing Human Drawing Art Drawings Sketches 	
 		 		 
 		
 	How To Draw A Human Nose 12 Steps With Pictures Wikihow Fun 	
 		 		 
 		
 	36 Thousand Cartoons Body Organs Royalty Free Images Stock Photos Pictures Shutterstock 	
 		 		 
 		
 	I Don T Know How To Draw Her Face I M Not An Artist Just Wanna Draw Cause I Love Her So Much R Tenseislime 	
 		 		 
 		
 	Human Anatomy Art Google Search Anatomy For Artists Nose Drawing Pencil Portrait 	
 		 		 
 		
 	Human Nose Sketch Photos And Images Shutterstock 	
 		 		 
 		
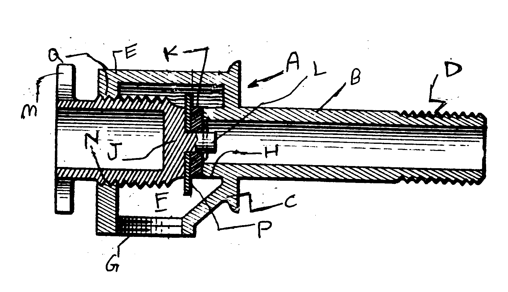
 	Full Title For Class 137 Subclass 2 	
 		 		 
 		
 	Mathematics Free Full Text Computational Human Nasal Reconstruction Based On Facial Landmarks 	
 		 		 
 		
 	Bleeding In Late Pregancy Mal Presentations Pptx 	
 		 		 
 		
 	Human Nose Tutorial Drawing Tutorial Drawing People Drawing Tips